首页
产品中心GL微孔过滤机系列
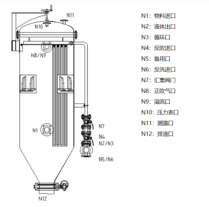
产品参数
产品特点
完全密闭过滤,无泄漏
采用科学高分子烧结PE/PA滤芯,过滤效果好
实现无残液过滤
耐腐蚀性能优异,适用于医药、化工、食品应用
采用反洗/反吹法进行高效清理
应用行业
超细产品的过滤与洗涤
生物发酵液的精密过滤与洗涤
发酵滤粹除去沉淀蛋白质的精密复滤
粉末状活性碳精密过滤
糖液的精密过滤
氯碱与纯碱生产上盐水精密过滤
化纤生产、焦化生产及石化等生产上的液体脱硫精密过滤
重金属废水的精密过滤
化工废水中回收化工产品的精密过滤
含氟、硫、磷废水、乳胶漆废水的密过滤
除尘洗涤废水的密过滤,使用可以循环使用
技术规格
| 产品型号 | 过滤面积(m²) | 筒体直径(mm) | 容积(L) | 主机重量(kg) |
| DNGL-5-A | 5m² | Φ500 X 2300 | 165 | 250 |
| DNGL-8-A | 8m² | Φ700 X 2500 | 425 | 300 |
| DNGL-10-A | 10m² | Φ800 X 2700 | 540 | 400 |
| DNGL-15-A | 15m² | Φ950 X 2900 | 660 | 550 |
| DNGL-20-A | 20m² | Φ1000 X 3200 | 970 | 600 |
| DNGL-30-A | 30m² | Φ1100 X 3400 | 2100 | 1100 |
| DNGL-40-A | 40m² | Φ1250 X 3600 | 2900 | 1300 |
| DNGL-50-A | 50m² | Φ1400 X 3800 | 3500 | 1700 |
| ... | ... | ... | ... | ... |
注:实际参数根据实际情况而定
外形尺寸

DN微孔过滤机是以PE/PA管为过滤单元,利用加压作用使液固分离,密闭运行,精度高,过滤效率高,耐腐蚀性强。
选型表
step1 产品品牌 DN | step2 产品类型 MD | step3 设计压力 MPa | step4 筒体材质 MA | step5 过滤面积 M² |
| DN FILTER | 微孔过滤器 | 0.6MPa 1.0MPa 1.6MPa | SUS304 SUS316L 碳钢 双相不锈钢 可做防腐处理 | 1m² 5m² 50m² … 100m² |
注:实际图纸根据实际情况而定
