首页
产品中心LX精密过滤器系列
产品参数
产品特点
以优质不锈钢粉末为原料,特殊成型工艺,具有独有的优良性能
不使用粘合剂,具有广泛的化学兼容性
高温性能好,能够在高温环境下稳定运行
相对于烧结网滤芯,精度更高
结构坚固,不易变形,使用寿命长
应用行业
生物、医药
汽车涂装
食品、饮料、制药
化工、石油
油漆、油墨、树脂和涂料
市政用水处理
纸浆与纸张
技术规格
| 产品型号 | 滤芯长度(英寸) | 滤芯根数(根) | 进出口 | 筒体直径(mm) |
| DNLX-10-3 | 10 | 3 | 25 | 180 |
| DNLX-20-3 | 20 | 3 | 25 | 180 |
| DNLX-30-3 | 30 | 3 | 25 | 180 |
| DNLX-40-3 | 40 | 3 | 25 | 180 |
| ... | ... | ... | ... | ... |
| DNLX-30-36 | 30 | 36 | 50 | 550 |
| DNLX-40-36 | 40 | 36 | 50 | 550 |
注:实际参数根据实际情况而定
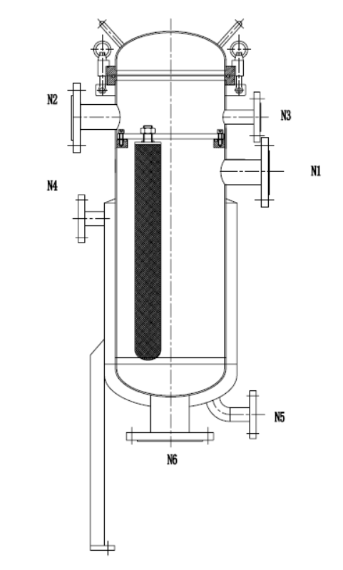
外形尺寸

注:实际图纸根据实际情况而定
| 参数规格 | DNLX-20-3 | DNLX-30-7 | DNLX-30-12 |
| N1(进口)/ N2(出口) | ISO快装/法兰 | ||
| N3(进气口) | 法兰 | ||
| N4(热源进口)/N5(热源出口) | 法兰 | ||
| N6(排污口) | 法兰 | ||
| A(总高度) | 887mm | 1238mm | 1300mm |
| B(直径) | 180mm | 255mm | 350mm |
| 净重量 | -kg | -kg | -kg |
注:实际参数根据实际情况而定
选型表
|
|
|
|
|
|
| DN FILTER | 不锈钢烧结滤芯过滤器 | 3芯 5芯 7芯 9芯 12芯 15芯 18芯 … | DNLX-10-3 DNLX-20-3 DNLX-30-3 DNLX-40-3 DNLX-10-5 DNLX-20-5 … | 不锈钢304 不锈钢316L 碳钢 双相不锈钢 |
|
注:实际图纸根据实际情况而定
相关产品
